jc聚彩

XD型多管旋风除尘器|陶瓷多管旋风除尘器-XD-Ⅱ型多管旋风除尘器型-宏大除尘设备

||资讯| 网站地图
宏大除尘设备,除尘器,除尘配件
热门点击: 布袋除尘器|气箱除尘器|脉冲除尘器|旋风除尘器|单机除尘器|行业除尘器|除尘器配件|除尘布袋|
XD型多管旋风除尘器-陶瓷多管旋风除尘器
XD-Ⅱ型多管旋风除尘器型
XD型多管旋风除尘器的旋风子是可以根据客户要求采用铸铁或陶瓷制造的,厚度大于6mm,因此有良好的耐磨性能。XD陶瓷多管旋风除尘器对于锅炉烟气除尘应用效果_显著。
产地:河北省>泊头市
供应商:泊头市宏大除尘设备制造有限公司
技术咨询热线:
13785759289

XD-Ⅱ型多管旋风除尘器型详细内容介绍information

 XD-Ⅱ型多管旋风除尘器
      XD—Ⅱ型多管旋风除尘器是一种_的除尘器,除尘效率可达95%以上,除尘器本体阻力低于900Pa,用现有的锅炉引风机_能_锅炉正常运行。本除尘器负荷适应性好,在70%负荷时,除尘效率在94%以上。
XD—Ⅱ型多管旋风除尘器内的旋风子是采用铸铁或陶瓷制造的,厚度大于6mm,因此有良好的耐磨性能。它是工业锅炉烟气除尘和其他粉尘治理的理想设备。
技术性能
规格型号
XD-Ⅱ-0.5
XD-Ⅱ-1
XD-Ⅱ-2
XD-Ⅱ-4
XD-Ⅱ-6
XD-Ⅱ-10
XD-Ⅱ-20
XD-Ⅱ-35
配用锅炉(t/h)
0.5
1
2
4
6
10
20
35
处理烟气量(m3/h)
1500
3000
6000
12000
18000
30000
60000
105000
除尘效率(%)
>95
本体阻力(Pa)
<900
分割粒径
3.05
重量
310
570
960
1900
2910
6100
11750
20300

XD-Ⅱ型多管旋风除尘器
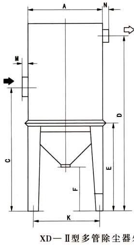
XD-Ⅱ型多管旋风除尘器安装尺寸 XD-Ⅱ型多管旋风除尘器安装尺寸
 
外形尺寸:

相关产品products list

除尘布袋-布袋除尘器布袋
除尘布袋堪称袋式除尘器的心脏,除尘布袋是袋式除尘器运行过程中的关键部分,通常圆筒型滤袋垂直地悬挂在除尘器中。
DMF-T-62直通式脉冲阀-直通式电磁脉冲阀
宏大生产的DMF-T-62直通式脉冲阀阀其进出口中心为同一直线,其进气口与储气管连接、出气口与喷吹管连接,气流畅通,能提供符合要求的脉冲气流 。DMF-T-62S直通阀的特点:直通式电磁脉冲阀的构造特点是空气进出口中心线在一条直线上,脉冲阀膜片把脉冲阀分为前,直通式脉冲阀后两个气室,接通压缩空气时脉冲阀处于关闭状态,开启动作原理与直角阀相同,只是气流喷射时的流动方向。
DMF-Z-65s电磁脉冲阀-5寸直角型脉冲电磁阀
RMF-Z-65S直角式脉冲阀是2.5寸直角型脉冲电磁阀,进气口和出气口之间的夹角为90度,RMF-Z-65S直角式脉冲阀适合于储气筒和除尘器喷吹管的连接。电压可分为:AC110V/AC220V/DC24V等。
企业简介|工程实例|生产场景|公司业绩|主要客户|联系方式| 网站地图
公司名称:泊头市宏大除尘设备制造有限公司 公司地址:泊头市开发区环城东路南首1号 电话:0317-8392799 8162866 传真:0317-8392977 
手机:18931764475 网址:http://die-youxin.com 
宏大除尘设备 2014(C)版权所有 并对网站所有内容保留解释权  
网站建设:中科四方